当前位置:BTY > 全自动包装机分类 > 全自动给袋式包装机 > 全自动固体、不规则物料包装机组
给袋式包装机厂家提供的全自动包装机采用稳定的凸轮机械传动技术,使设备运行稳定,故障率低、能耗低,采用电路结构,人机界面(PLC+HMI)等先进技术。
地址:浙江省温州市平阳县万全轻工基地综合园(104国道栏杆桥村口)
座机:0577-65558958
售后:0577-65558968
传真:0577-65558919
热线:15381558288
邮箱:wzrunli@163.com
radozxfw.com www.wzrunli.com
概况
全自动包装机由给袋式自动包装机、智能组合秤、转斗提升机、工作平台配套而成,主要适用于各种固体、颗粒、块状及物料的称重。如膨化食品、休闲食品、坚果、瓜子、杏仁、开心果、松子、糖果、果冻、豆类食品、 速冻食品、宠物食品、各类、小五金类物料等物料自动完成送料、可自动取袋、打码、开袋、定量填充、抽气充氮热封、输出成品的计量包装作业。
全自动包装机主要性能特点
1.该机采用稳定的凸轮机械传动技术,使设备运行稳定,故障率低、能耗低。同时该机采用电路结构,人机界面(PLC+HMI)等先进技术,实现机电一体化,操作方便简单。
2.仅需在超大彩色触摸屏上输入相应项,设备即可自动调整包装袋尺寸,包装速度,封口温度等。
3.生产过程中设备带有自动检测系统,,自动调整元气件角度参数,系统将报警并在触摸屏上显示报警原因。技术人员可直接排除故障。实现 “无袋或开袋不成功-不灌装-不封口”,包装成品率高。
4.产品增设开门急停、排气、压实、自动投卡、异常排出、自动加注润滑油等细节功能,包装全过程无需人工作业,有效的提高了生产效率,节约了人工费用及管理费用,大幅降低了成本,提高生产效率。
5.包装袋和物料接触的零部件均采用不锈钢或其他符合食品卫生要求材料加工,保证食品的卫生,符合食品卫生标准。
6.采用新的德国PLC控制系统。采用变频器无级变速,主电机、PLC、变频器、传感器、继电器、接触器、气动元件均为品牌产品;
7.包装机控制计量称释放物料动作,不浪费物料。
8.设备配置保护门,保护门采用透明有机玻璃制成。
9.高精度数字传感器,实现高速准确称量。
10.显示器中自带有帮助菜单,方便学习使用。
11.运行中各线振幅可独立调节,可使加料更加均匀,提高组合精度。
12.组合成目标重量的几个料斗可设置为依次下料,有效解决了物料堵塞问题。
13.高精度高速度结合,通过CPU计算从丰富的组合中瞬时选出较佳组合。
14.设备具有防水功能,生产完毕后,设备可直接用水冲洗。
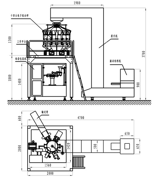
全自动包装机技术参数
型号:RL200-G
生产线组成:给袋式包装机、智能组合秤、物料提升机、工作平台
包装袋类型:自立袋、平面袋(三边封、四边封、手提袋、拉链袋)、纸袋等复合袋
包装袋尺寸:200型:(W:10~23cm; H:≤35cm)250型:(15~25cm;L:≤35cm); 300型(W:20~32cm.H;≤45cm)
包装重量:≤1000g
包装速度:20-60bag/min(具体速度由物料自身及填充重量决定)
包装精度:≤±0.5-1g
使用电源:三相380V 、50/60Hz
总功率:5.2KW
外型尺寸:4500×2500×3700mm
备注
1:根据客户要求,提供特殊设计。
2:机器配置可做选择。
全自动包装机工作流程

包装袋类型
全自动包装机示意图

售后条款
售后承诺
感谢您选择润立机械的产品。
如果您所购买的润立机械的给袋式包装机、自动化包装设备以及配套设备在使用过程中出现任何疑问及故障,请致电我们,与我们的售后部经理徐先生联系,他将专业为您解答并解决问题。为客户提供好的、快捷的售前、售后服务。与此同时我们的所有售后配件24小时内配送发货。
全自动包装机售前咨询
1.针对您目前生产设备的更新提供适当的建议和支持;
2.对您感兴趣的润立产品进行详细介绍与提出适合您的购买方案建议;
3.针对您目前经营模式及生产管理作出评估,推荐一款适合贵司生产的设备。
4.请根据您的所在区域,选择我们的销售经理,专业为您服务。
全自动包装机机器安装
对于新购机器的客户,在我公司规定的安装调试培训期限内,我公司可以安排工程师(工程师工资和工厂到国内机场费用均由我司承担)上门安装机器和为客户培训机器操作人员,工作时间为每天8小时;免费保修一年,终身维护。
全自动包装机售后服务
对售出设备进行操作人员使用培训:
对设备正常使用操作流程进行培训。
对设备日常维护保养常识进行培训。
对设备售后服务内容介绍及解决方法进行培训。
对设备售后服务内容介绍及联系方式进行告知。配件供应保证:1年质保期免费配件供应,超质保期外终身配件有偿供应。
全国24小时售后热线提供电话咨询服务 徐经理:0577-65558958 、153 8155 1588
设备紧急故障视频解决方案。(需用户自备视频系统及设备)由我方技师分析视频问题并电话指导客户方面技师共同解决遇到的问题。
提供在线常见问题解答









温州润立机械有限公司提供粉末包装机、 给袋式包装机、全自动包装机、自动颗粒包装机、液体包装机、酱腌菜包装机、自动食品包装机,推荐选用以下产品
粉末给袋式包装机| 粉末包装机 全自动藕粉包装机| 全自动藕粉剂/粉末包装机| 四边封立式粉末包装机| 调味品全自动粉末包装机| 全自动化肥粉剂/粉末包装机| 燕麦系列不规则全自动包装机| 全自动粉末包装机|
豆鼓全自动颗粒真空包装机 | 花生米真空包装机 | 鱼丸全自动颗粒真空包装机 | 全自动小酥肉自动颗粒包装机 | 自动颗粒给袋式包装机 | 真空自动颗粒包装机 | 全自动颗粒包装机(坚果) | 木耳全自动给袋式颗粒包装机 | 全自动干湿分离坚果颗粒包装机 | 休闲食品爆米花全自动颗粒包装机| 全自动给袋式颗粒包装机 | 全自动高速给袋式颗粒包装机 | 全自动真空颗粒包装机 | 玉米粒五谷杂粮全自动颗粒包装机 |
四边封液体包装机 | 高速给袋式包装机 | 酵素果冻提取液体包装机 | 全自动辣椒酱包装机 | 全自动洗衣液包装机 | 全自动液体包装机| 火锅底料灌装机| 灌装机|
海带全自动真空包装机| 高速真空酱腌菜包装机| 预制菜全自动包装机| 榨菜真空包装机| 液体包装机 全自动辣椒酱包装机| 酱腌菜包装机 全自动高速榨菜真空包装机| 全自动真空给袋式包装机(冷吃兔)| 全自动咖喱鸡料理包真空包装机| 牛肉丝收缩杯下料器高速真空包装机| 全自动榨菜酱腌菜真空包装机| 全自动粽子真空包装机| 酱菜下料器全自动真空包装机| 泡椒凤爪全自动给袋式真空包装机| 全自动酸菜真空包装机| 土豆牛肉预制菜包装机冷链| 全自动鸡块给袋式旋转真空包装机| 全自动酱菜螺杆组合秤真空包装机|
致力于专业的整体包装方案 该网站所有产品图及宣传图片属于润立所有,任何个人和组织不得使用,盗用必究。
电话:15381558288传真:0577-65558919售后:0577-65558968E-mail:wzrunli@163.com地址:浙江省温州市平阳县万全轻工基地综合园(104国道栏杆桥村口)
卓先生(营销经理)
国先生(副总经理)
全国服务热线
15381558288
欢迎您的咨询,热诚为您服务,我们将为您免费提供满意的包装方案。